玻璃板液位計
- RZ-UB係列玻璃板液位計可用來直接指示密封容器中的液位高度,具有結構簡單,直觀可靠,經久耐用等優點,但容器中的介質必須是與鋼、鋼紙及石墨壓環不起腐蝕作用的。適用於化工、石油等工業低溫設備的液位指示裝···
在線谘詢

- 質量穩定
- 價格合理
- 交貨快捷
- 午夜成人在线视频儀表為您提供全套液位計係列解決方案
- 銷售:0517-86917118 15601403222 、 13915181149
- 傳真:0517-86917118
- 地址:江蘇省淮安市金湖縣金荷路201號
在線谘詢
RZ-UB係列玻璃板液位計可用來直接指示密封容器中的液位高度,具有結構簡單,直觀可靠,經久耐用等優點,但容器中的介質必須是與鋼、鋼紙及石墨壓環不起腐蝕作用的。適用於化工、石油等工業低溫設備的液位指示裝置。
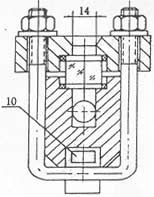
一、玻璃板液位計產品結構
儀表的上下閥上裝有法蘭接頭,與容器連接構聯通器,透過玻璃板直接指示容器布什的液位,“夾套型”設有加熱或冷卻裝置。該裝置加熱時可用蒸氣,冷卻時可用循環水,這樣可以調節流動性能,夾套型接管尺寸ZG1/4內螺紋。在上下閥內裝有鋼球,當玻璃板因意外事故破壞時,鋼球在容器壓力作用下,自動密封,防止容器內的液體繼續外流。在儀表的上端針形閥裝有阻塞螺釘,可供放氣之用,下端針形閥也裝有阻塞螺釘。可供放空、取樣、排汙、清洗。
二、玻璃板液位計技術數據
1、針形閥的自動關閉壓力 ≥0.2MPa
2、夾套蒸氣壓力為 ≤0.6MPa
3、玻璃板的急變溫差為 ≤240℃
注:我廠承接特殊規格的定貨。
三、玻璃板液位計產品類型
|
名稱
|
型號
|
公稱壓力MPa
|
介質溫度℃
|
結構特征
|
(規格按上、下閥中心線間距離
|
標準號
|
||||||
|
結構形式
|
材料
|
L=304
|
L=500
|
L=800
|
L=1100
|
L=1400
|
L=1700
|
|||||
|
透光式玻璃板液位計
|
T2.5
|
2.5
|
-20~+250
|
普通型
|
I(碳鋼)
II(1Cr18Ni9Ti) |
|
△
|
△
|
△
|
△
|
△
|
HG5-1364-80
|
|
夾套型
|
I(碳鋼)
II(1Cr18Ni9Ti) |
|
△
|
△
|
△
|
△
|
△
|
|||||
|
T6.3
|
6.3
|
-20~+250
|
普通型
|
I(碳鋼)
II(1Cr18Ni9Ti) |
|
△
|
△
|
△
|
△
|
△
|
HG5-1365-80
|
|
|
夾套型
|
I(碳鋼)
II(1Cr18Ni9Ti) |
|
△
|
△
|
△
|
△
|
△
|
|||||
|
反射式玻璃板液位計
|
R4.0
|
4.0
|
-20~+250
|
普通型
|
I(碳鋼)
II(1Cr18Ni9Ti) |
|
△
|
△
|
△
|
△
|
△
|
HG5-1366-80
|
|
夾套型
|
I(碳鋼)
II(1Cr18Ni9Ti) |
|
△
|
△
|
△
|
△
|
△
|
|||||
|
R0.6
|
0.6
|
-20~+250
|
帶頸襯裏
|
III(碳鋼襯裏)
|
△
|
|
|
|
|
|
HG5-1367-80
|
|
|
帶頸
|
I(碳鋼)
II(1Cr18Ni9Ti) |
△
△ |
|
|
|
|
|
HG5-1368-80
|
||||
|
R
|
常壓
|
-20~+250
|
襯裏
|
III(碳鋼襯裏)
|
△
△ |
|
|
|
|
|
HG1369-80
|
|
|
嵌入聯接
|
I(碳鋼)
II(1Cr18Ni9Ti) |
△
△ |
|
|
|
|
|
HG5-1370-80
|
||||
|
RZ-UB係列玻璃板液位計外型尺寸圖
|
安裝、使用與維護
1、為了保證自動密超過計劃作用,容器內的介質壓力不得小於0.2MPa,在打開上下閥時,閥杆退出轉數不少於4轉(使鋼球封門時,不致於碰到閥杆的**)。