午夜成人在线视频,午夜成人福利片,美女午夜福利,午夜在线观看APP

    液位午夜成人福利片_智能壓力午夜成人福利片_3051差壓午夜成人福利片_單雙法蘭,投入式,電容式,溫度午夜成人福利片-淮安午夜成人在线视频儀表科技有限公司

    谘詢熱線

    0517-86917118

    產品直通車

    液位午夜成人福利片係列
    液位壓力午夜成人福利片 法蘭式液位午夜成人福利片 靜壓式液位午夜成人福利片 壓力液位午夜成人福利片 GPRS無線遠傳壓力|差壓|液位|午夜成人福利片,液位計 單法蘭液位午夜成人福利片 防腐投入式液位午夜成人福利片 差壓液位午夜成人福利片 磁翻板液位午夜成人福利片 雙法蘭液位午夜成人福利片 電容式液位午夜成人福利片 浮球液位午夜成人福利片
    差壓午夜成人福利片係列
    壓差午夜成人福利片 差壓午夜成人福利片 微壓差午夜成人福利片 差壓流量午夜成人福利片 雙法蘭差壓午夜成人福利片 防爆差壓午夜成人福利片 智能差壓午夜成人福利片
    壓力午夜成人福利片係列
    隔膜壓力午夜成人福利片 3051壓力午夜成人福利片 衛生型壓力午夜成人福利片 微壓壓力午夜成人福利片 平膜壓力午夜成人福利片 數顯壓力午夜成人福利片 擴散矽壓力午夜成人福利片 電容壓力午夜成人福利片 ***壓力午夜成人福利片 3351壓力午夜成人福利片 單晶矽壓力午夜成人福利片 小巧型壓力午夜成人福利片
    液位計係列
    電容式液位計 超聲波液位計 浮標液位計 壓力式液位計 差壓液位計 石英管液位計 磁翻板液位計 磁浮子液位計 側裝磁翻板液位計 玻璃板液位計 雷達液位計 磁浮球液位計
    差壓午夜成人福利片
    您的位置: 首頁>>所有產品>>差壓午夜成人福利片係列

    差壓午夜成人福利片

    • RZ3051-DP差壓午夜成人福利片的3種應用測量方式:(1) 差壓午夜成人福利片與節流裝置相結合,根據節流裝置前後產生的差壓值換算流速(2) 利用液體自身重力產生的壓力差,測量液體的高度(3) 直接測量不同管道、密···
    • 在線谘詢
    • 質量穩定
    • 價格合理
    • 交貨快捷
    • 午夜成人在线视频儀表為您提供全套差壓午夜成人福利片係列解決方案
    • 銷售:0517-86917118    15601403222 、 13915181149
    • 傳真:0517-86917118
    • 地址:江蘇省淮安市金湖縣金荷路201號
    • 產品詳情

    RZ3051-DP差壓午夜成人福利片的3種應用測量方式:

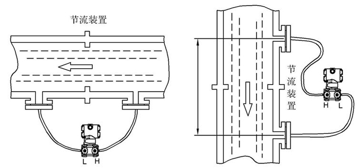
    (1) 差壓午夜成人福利片與節流裝置相結合,根據節流裝置前後產生的差壓值換算流速
    (2) 利用液體自身重力產生的壓力差,測量液體的高度
    (3) 直接測量不同管道、密閉帶壓容器的壓力差值從而換算出液位高度。
    RZ3051-DP係列差壓午夜成人福利片采用模塊化設計,由帶集成電子適配單元的傳感器模塊和就地按鈕單元的放大器模塊組成,其中傳感器模塊包括差壓傳感器、絕壓傳感器、溫度傳感器,可同時測量差壓、絕壓、儀表溫度,因此RZ3051-DP係列差壓午夜成人福利片具有非常優異的靜壓特性和溫度特性。
      
    RZ3051-DP差壓變送器特點-----------------------------------------------------------------------------------
     
    ·具有很強的自診斷能力 量程覆蓋寬0-0.1KPa~40.0MPa
    ·精度0.075級,量程比100:1 零點和量程調整互不影響
    ·兼有遠程和本地量程、零點調整 具有很強的數據保護和恢複機製
    ·穩定性能好,精度高,阻尼可調,抗單向過載能力強
    ·無機械傳動部件,維修工作量少,堅固抗振
    ·全部通用件,更換傳感器不影響午夜成人福利片特性,維護更方便
    ·接觸介質的膜片材料可選擇 防爆殼體結構
    ·二線製,符合HART協議,可與HART275型及375型手操器進行數字通信而不中斷模擬量輸出
     
    差壓午夜成人福利片
     
    差壓流量午夜成人福利片


    係統展示----------------------------------------------------------------------------------------------------
     



    差壓午夜成人福利片測量液位安裝示意圖
     
    -----------------------------------------------------------------------------------------------------------------
     

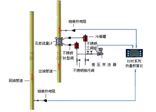
    導熱油爐熱量計量係統安裝示意圖
     
    -----------------------------------------------------------------------------------------------------------------
     




    過熱蒸汽計量係統安裝示意圖
     
    -----------------------------------------------------------------------------------------------------------------
     

     
     差壓午夜成人福利片測量流量安裝示意圖
     


    技術參數-----------------------------------------------------------------------------------------------------
     
    測量介質 液體、氣體或汽體
    測量範圍 量程代碼 量程範圍(KPa) 測量範圍(KPa)
    3 0.8~7.5KPa -7.5~7.5KPa
    4 1.0~37.4KPa -37.4~37.4KPa
    5 4.7~186.8KPa -186.8~186.8KPa
    6 17.3~690KPa -690~690KPa
    7 51.7~2068KPa -2068~2068KPa
    8 172.3~6890KPa -100~6890KPa
    輸出信號 二線製,4~20mADC輸出,疊加hart協議數字通訊。
    電 源 24VDC(正常工作電壓範圍12~36VDC)
    防爆標誌 隔爆型:ExdⅡCT6,本安型:ExiaⅡCT6
    防護等級 IP66
    量程比 100:1
    精度等級 0.075級、0.1級
    穩定性 0.075級:36個月誤差為*大量程的±0.2%
    0.1級:36個月誤差為*大量程的±0.25%
     
      RZ3051-DP係列差壓午夜成人福利片**適用於石油、化工、航空、航天、軍工、紡織、冶金、礦山、輕工、醫藥、電力、環保、市政、食品、衛生等行業和科研領域的全天候惡劣環境下,尤其適用於具有腐蝕性、衝擊性、震動性等應用場所。RZ3051-DP差壓午夜成人福利片運用成熟的獨特技術生產,是美國、日本原裝進口產品的理想替代品。



    差壓午夜成人福利片產品尺寸及安裝方式


    差壓午夜成人福利片




    差壓午夜成人福利片



    差壓午夜成人福利片


    液   位  測  量


    差壓午夜成人福利片

    流  量  測  量

    差壓午夜成人福利片


    上一條:沒有了!
    下一條:智能差壓午夜成人福利片